![]()
NEWS

| 名称 | 描述 |
| GND | 地。 |
| FB |
反馈输入引脚。PWM 控制器的占空比由此引脚上的反馈电压和 SENSE 引脚 上的检测电压共同决定。 |
| VDDG | 内部栅极驱动电源输入。 |
| SENSE | 电流采样输入。 |
| VDD | 芯片电源。 |
| Drain |
高压 MOSFET 漏极,连接在变压器初级侧线圈一端,线圈另一端接整流输 入电容阳极。 |


| 符号 | 参数 | 值 | 单位 | |
| VDRAIN | 源漏击穿电压 | -0.3V~VBR(DS) | V | |
| VDD | 工作电压 | 30 | V | |
| VDDG | 功率输出电路的电源电压 | 30 | V | |
| IVDD | VDD箝位的连续电流 | 10 | mA | |
| VFB | FB引脚工作电压 | -0.3 to 7V | V | |
| VSense | SENSE引脚工作电压 | -0.3 to 7V | V | |
|
ESD |
ESD能力-人体模式 | 3000 | V | |
| ESD能力-机械模式 | 250 | V | ||
|
TL |
焊接温度 | 20秒 DIP-8L | 260 | ℃ |
| 20秒 SOP-8L | 260 | ℃ | ||
| TSTG | 储存温度范围 | -55 to + 150 | ℃ | |
| TJ | 工作结温范围 | -20 to + 150 | ℃ | |
| 产品 | 封装 | 230VAC ±15% | 85-265VAC |
| 开放式 1 | 开放式 1 | ||
| CR5223 | SOP-8L | 7W | 6W |
| CR5221 | DIP-8L | 9W | 8W |
| CR5224 | DIP-8L | 15W | 12W |
| CR5228 | DIP-8L | 18W | 15W |
| CR5229 | DIP-8L | 24W | 18W |
| 符号 | 参数 | 测试条件 | 最小 | 典型 | 最大 | 单位 |
| VDD 供电部分 | ||||||
|
Istartup |
VDD 启动电流 |
VDD=14.1V, 测试 流入 VDD 端口的漏 电流 |
3 |
20 |
uA |
|
|
IVDD (Operation) |
工作电流 | VFB=3V | 2 | mA | ||
|
UVLO(ON ) |
VDD 进入欠压锁定 的阈值 |
8.5 | 9 | 9.5 | V | |
|
UVLO(OFF ) |
VDD 退出欠压锁定 的阈值 |
14.2 | 14.8 | 16 | V | |
|
VthOVP(ON) |
VDD 过压保护阈值 |
CS=0V, FB=3V 升高 VDD 电压, 直到 Gate 关闭 |
27.0 |
28.5 |
30.0 |
V |
| VDD_Clamp | VDD 箝位电压 | IDD=10mA | 30 | V | ||
| 反馈输入部分 | ||||||
| VFB_Open | FB 脚开路电压 | 5.4 | 5.6 | 6.0 | V | |
| IFB_Short | FB 脚短路电流 |
短路 FB 脚到地, 测试短路电流 |
1.55 | mA | ||
| VTH_0D |
零占空比时 FB 阈值 电压 |
0.8 | V | |||
| VTH_PL | 过载 FB 阈值电压 | 3.7 | V | |||
| TD_PL | 过载延迟时间 | 50 | mS | |||
| ZFB_IN | FB 端输入阻抗 | 4 | K? | |||
| 电流检测部分 | ||||||
| TSoft | 软启动时间 | 4 | ms | |||
| T_blanking | 前沿消隐时间 | 300 | ns | |||
| ZSENSE_IN | SENSE 端输入阻抗 | 40 | K? | |||
| TD_OC |
过流检测控制延迟时 间 |
从过流发生到 Gate 驱动关闭的时间 |
120 | nS | ||
| VTH_OC | 电流限制阈值电压 | FB=3.3V | 0.76 | 0.8 | 0.82 | V |
| 振荡器部分 | ||||||
| Fosc | 正常的振荡频率 | 45 | 50 | 55 | KHz | |
| △f_Temp | 温度与频率稳定性 | 5 | % | |||
| △f_VDD |
VDD 电压与频率稳 定性 |
5 | % | |||
| D_max | 最大占空比 | FB=3.3V, CS=0V | 70 | 80 | 90 | % |
| F_Burst | Burst Mode 频率 | 22 | KHz | |||
| 高压功率 MOSFET 部分 | ||||||
| BVdss |
MOSFET 漏 源击穿 电压 |
VGS=0V, IDS=250uA | 600 | V | ||
|
RDS(on)* |
漏源之间静态导通电 阻 |
VGS=10 V, IDS=1A |
CR5223 SOP-8 | 6.5 | 9.0 | ? | |
| CR5221 DIP-8 | 6.5 | 9.0 | ? | ||||
| CR5224 DIP-8 | 5.0 | 5.8 | ? | ||||
| CR5228 DIP-8 | 3.8 | 4.2 | ? | ||||
| CR5229 DIP-8 | 2.0 | 3.0 | ? | ||||
| 频率抖动部分 | |||||||
| △f_SOC | 频率抖动范围 | -4 | 4 | % | |||
| 过温保护部分 | |||||||
| TOTP | 过温保护点 | 135 | 150 | 165 | 0C | ||


| 符号 | 毫米 | 英寸 | ||||
| 最小 | 典型 | 最大 | 最小 | 典型 | 最大 | |
| A | 5.334 | 0.210 | ||||
| A1 | 0.381 | 0.015 | ||||
| A2 | 3.175 | 3.302 | 3.429 | 0.125 | 0.130 | 0.135 |
| b | 1.524 | 0.060 | ||||
| b1 | 0.457 | 0.018 | ||||
| D | 9.017 | 9.271 | 10.160 | 0.355 | 0.365 | 0.400 |
| E | 7.620 | 0.300 | ||||
| E1 | 6.223 | 6.350 | 6.477 | 0.245 | 0.250 | 0.255 |
| e | 2.540 | 0.100 | ||||
| L | 2.921 | 3.302 | 3.810 | 0.115 | 0.130 | 0.150 |
| eB | 8.509 | 9.017 | 9.525 | 0.335 | 0.355 | 0.375 |
| θ? | 0? | 7? | 15? | 0? | 7? | 15? |

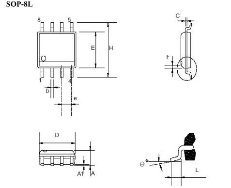
| 符号 | 毫米 | 英寸 | ||||
| 最小 | 典型 | 最大 | 最小 | 典型 | 最大 | |
| A | 1.346 | 1.752 | 0.053 | 0.069 | ||
| A1 | 0.101 | 0.254 | 0.004 | 0.010 | ||
| b | 0.406 | 0.016 | ||||
| c | 0.203 | 0.008 | ||||
| D | 4.648 | 4.978 | 0.183 | 0.196 | ||
| E | 3.810 | 3.987 | 0.150 | 0.157 | ||
| e | 1.016 | 1.270 | 1.524 | 0.040 | 0.050 | 0.060 |
| F | 0.381X45° | 0.015X45° | ||||
| H | 5.791 | 6.197 | 0.228 | 0.244 | ||
| L | 0.406 | 1.270 | 0.016 | 0.050 | ||
| θ? | 0° | 8° | 0° | 8° | ||

| 产品型号 | 封装类型 | 包装材质 | 一管 | 一盒 | 一箱 |
| CR522X | DIP-8L | 管装 | 50 | 2000 | 20000 |

| 产品型号 | 封装类型 | 包装材质 | 一管 | 一盒 | 一箱 |
| CR522X | SOP-8L | 管装 | 100 | 10000 | 100000 |